You are here

Single metal powder extrusion

Metal powder processing where a limited powder charge is extruded through a die.

Beskrivning
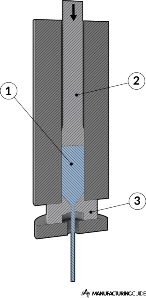
Illustration of Single metal powder extrusion

The process

The metal powder [1], in loose form or in an ampoule is loaded into a chamber and then a pressing force on the piston [2] pushes the powder charge through the die [3]. The tapered shape allows the powder to be molded and pressed together to form a profile in which powder particles are bonded mechanically to a green body.

As the green body is still lacking the metallurgical bond required to have high strength. Usually the extruded profile is passed through a sintering furnace where the particles are bonded together metallurgically by diffusion.

To further enhance and customize the component to the desired end form, common secondary operations such as restamping, Carburization, infiltration, impregnation, surface compression are done. The component may also undergo repeated sintering to increase its density. Often done along with conventional processing methods such as milling, turning and grinding.